Hak

Uchwyt do elementów prostopadłościennych CBKN

CBKN – uchwyt do bezpiecznego przenoszenia i transportu prostopadłościennych elementów, idealny do zastosowań przemysłowych i magazynowych.

Dane techniczne
Model Udźwig
[t]
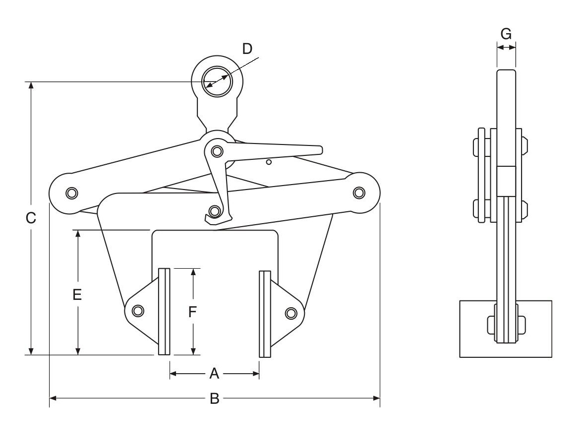
A
szczęki
[mm]
B
[mm]
C
[mm]
D
[mm]
E
[mm]
F
[mm]
G
[mm]
Waga
[kg]
CBKN 2000 2.0 220-360 600-675 400-680 45 170 100-120 16 18
CBKN 3000 3.0 350-500 740-840 490-840 65 200 100-120 20 32

 

Uchwyt do elementów prostopadłościennych CBKN

CBKN – uchwyt do bezpiecznego przenoszenia i transportu prostopadłościennych elementów, idealny do zastosowań przemysłowych i magazynowych.

Opis techniczny:

  • podnoszenie i transport w pozycji poziomej,
  • udźwig do 3000 kg,
  • w momenie zetknięcia podnoszonego elementu z powierzchnią zaciski automatycznie otwierają się. 

Zalety:

  • łatwy i wygodny w obsłudze,
  • solidna konstrukcja zapewnia długą żywotność uchwytu,
  • szczęki pokryte tworzywem sztucznym odpornym na ścieranie.

Znakowanie: indywidualny numer serii, DOR (WLL), rok produkcji.

Dokumentacja: Deklaracja Zgodności CE, instrukcja eksploatacji obsługi i konserwacji.

Wyślij zapytanie ofertowe

Sprawdź również

Uchwyt do elementów prostopadłościennych TBG
Uchwyt do kształtowników TTR
Uchwyt do kształtowników TTG
Uchwyt do elementów prostopadłościennych
Uchwyt do elementów prostopadłościennych SEb
Uchwyt do elementów prostopadłościennych SEc
Uchwyt do elementów prostopadłościennych z blokadą BZ-0,5
Uchwyt do ceowników SEd
Uchwyt do dwuteowników SEt

Zapisz się do newslettera